绿森林重拳出击,连续无效十余件山寨商标。
成功维权十余件山寨商标后,绿森林硅藻泥总经理孙中善说:以前怕打草惊蛇,现在终于可以说了,十余个山寨商标已经全部被打掉。
3份行政判决书、12份裁定书是绿森林打掉山寨商标的证据。

孙中善透露,这次维权主要走两条线,商标行政诉讼和民事诉讼。
一是对山寨商标百姓绿森林、金汭绿森林、吉远绿森林、健康绿森林、中州绿森林等十余个近似商标提起无效宣告。
二是对百姓绿森林、吉远绿森林、雪山绿森林3个品牌发起了民事诉讼,最高索赔额300万元,它们仿冒我们产品进行销售,让消费者形成误认。
其中有《北京知识产权法院行政判决书(2017)京73行初6369号》判决,驳回原告刘文彪的诉讼请求,“百姓绿森林BAIXINGLVSENLIN”商标无效;
以及《北京知识产权法院行政判决书(2017)京73行初6884号》判决,驳回原告曾平的诉讼请求,“绿森林艺术呼吸”商标无效等等……

据了解,绿森林硅藻泥属于吉林省绿森林环保科技有限公司,是国内知名的新型环保建材研发生产企业。
自2010年成立以来,其生产销售的“绿森林”硅藻泥成为国内同行业知名产品。
绿森林硅藻泥在建材领域获得了良好的口碑,截至2019年7月在全国开设了1500余家专卖店,年销售额达10亿元左右。
绿森林硅藻泥现有的包括“长白绿森林”、“绿森林小屋”、“长白山绿森林”以及绿森林商标图。
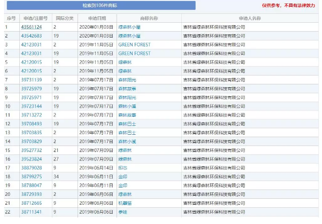
目前,在中国商标网信息查询,吉林绿森林公司共申请了106件商标,其中多为1类硅藻泥、2类油漆涂料和19类地板地砖等。

因火而仿冒成灾的绿森林硅藻泥。
近年来,纯天然、无污染,兼具装饰性和功能性的硅藻泥在家居墙饰材料中异军突起,江湖混战,诞生了像绿森林硅藻泥这样的大品牌,于是众多投机者争相傍名牌。

其中雪山绿森林就是众多仿冒者之一。
雪山绿森林商标的申请人为吉林省壹毫米建筑装饰工程有限公司,申请日期为2018年11月2日。
雪山硅藻泥不仅申请注册与绿森林近似的商标,而且雪山绿森林店面的导购在介绍产品种类、全国代理商数量与全国门店数量时,与绿森林硅藻泥门店导购介绍的几乎没有什么差别。
此外,雪山绿森林的产品包装与绿森林硅藻泥的产品包装也极其相似,正面的slogan“源自长白山”,背面的“主要成分”、“施工程序”等内容有很明显的仿冒痕迹。
“这种仿冒我们产品进行销售的,足以让消费者形成误认,投机倒把。”孙中善表示,已向雪山绿森林发起民事诉讼。
正是这些山寨品牌,在不断迷惑消费者的同时,也让很多代理商对于绿森林感到困惑,这无疑是在影响绿森林的正常发展。
虽然打假压力不小,需要花费大量的人力、时间、金钱,对企业是不小的负担,但是孙中善表示为了品牌的影响力与未来的发展,对于山寨品牌不得不打。
有专家指出,随着中国行业发展日益成熟,企业的产品和服务越来越需要自主创新,因此对商标的管理和使用也日益精细,这也是因为商标对于企业的发展影响重大。
消费者在认可品牌的同时,也正对于商标的认识再逐步清晰。
商标对于消费者而言,是认识一个品牌的重要基础。
上一篇:可以注册“新冠肺炎”商标吗?
下一篇:广东出台知识产权质押融资措施助力企业应对疫
便捷链接:绿森林重拳出击,连续无
本文来源:网络?买卖商标注册授权入驻“天猫”“京东”“拼多多”“抖音头条”“商标百科”
版权说明:上述为转载或编者观点,不代表亿佰倍懂商标意见,不承当任何法律责任
亿佰倍懂商标官方微信
欢迎关注亿佰倍懂
微信号:K58158 热门TAGS
购买上海商标 商标复审 商标撤三答辩 商标驳回复审 国际商标驳回 知名商标转让 白酒商标网 19类商标转让 18类商标转让 17类商标转让 16类商标转让 15类商标转让 14类商标转让 13类商标转让 11类商标转让 12类商标转让 10类商标转让 9类商标转让 8类商标转让 7类商标转让 6类商标转让 5类商标转让 4类商标转让 3类商标转让 2类商标转让 1类商标转让 T恤商标转让 红酒商标转让 黄酒商标转让 水饺商标转让 糖果商标转让 闲置商标转让 商标购买网站 月饼商标转让 购买月饼商标 购买牛奶商标 牛奶商标转让 购买餐饮商标 餐饮商标转让 啤酒商标转让 购买啤酒商标 购买酒类品牌 酒类品牌转让 购买饮料商标 饮料商标转让 食品商标转让 购买食品商标 购买镀膜商标 镀膜商标转让 机油商标转让 购买机油商标 头枕商标转让 购买头枕商标 车衣商标转让 购买车衣商标 购买车贴商标 车贴商标转让 凉垫商标转让 睡袋商标转让 包子商标转让
联系方式
【商标网】
企业QQ:1728988888
手机: 18211558558
官方微信:K58158
广东(总部)北京(分部)深圳(分部)

*截止
,共有人阅读了本文。


40
加工服务